| 
		 Model  | 
		
		 Year  | 
		
		 MG  | 
		
		 SG  | 
		
		 Illustration  | 
		
		 Restrictions  | 
		
		 UPD  | 
		
		 
		
		  | 
		
		 PET  | 
		
		 
		
		  | 
	
| 
		 928  | 
		
		 1995  | 
		
		 0  | 
		
		 01  | 
		
		 001-00  | 
		
		 248  | 
	||||
| 
		 
  | 
		
		 
  | 
	
| 
		 
		
		  | 
		
		 Pos  | 
		
		 Part Number  | 
		
		 Description  | 
		
		 Remark  | 
		
		 Qty  | 
		
		 Model  | 
	
| 
		 lh-jetronic 4  | 
		
		 M28.49/50  | 
	|||||
| 
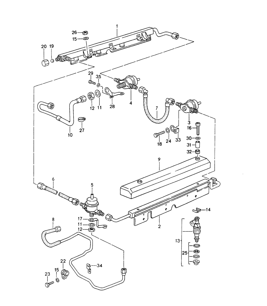
		 1  | 
		
		 928 110 080 17  | 
		
		 distributor injection tube  | 
		
		 /R  | 
		
		 1  | 
		||
| 
		 2  | 
		
		 928 110 079 17  | 
		
		 distributor injection tube  | 
		
		 /L  | 
		
		 1  | 
		||
| 
		 3  | 
		
		 930 110 602 01  | 
		
		 pressure damper  | 
		
		 1  | 
		|||
| 
		 4  | 
		
		 928 110 198 04  | 
		
		 pressure regulator  | 
		
		 1  | 
		|||
| 
		 5  | 
		
		 928 110 202 01  | 
		
		 diaphragm damper  | 
		
		 1  | 
		|||
| 
		 6  | 
		
		 928 110 269 01  | 
		
		 fuel hose  | 
		
		 1  | 
		|||
| 
		 7  | 
		
		 928 110 271 02  | 
		
		 fuel hose  | 
		
		 1  | 
		|||
| 
		 8  | 
		
		 928 110 367 15  | 
		
		 fuel line (feed line)  | 
		
		 1  | 
		|||
| 
		 9  | 
		
		 928 110 017 00  | 
		
		 cover  | 
		
		 /L  | 
		
		 1  | 
		||
| 
		 (9)  | 
		
		 928 110 018 00  | 
		
		 cover  | 
		
		 /R  | 
		
		 1  | 
		||
| 
		 10  | 
		
		 928 110 359 08  | 
		
		 fuel line (return line)  | 
		
		 1  | 
		|||
| 
		 11  | 
		
		 900 025 020 02  | 
		
		 washer (A17)  | 
		
		 2  | 
		|||
| 
		 12  | 
		
		 900 034 013 02  | 
		
		 hexagon nut (M16*1,5)  | 
		
		 2  | 
		|||
| 
		 13  | 
		
		 928 606 119 02  | 
		
		 injector valve  | 
		
		 8  | 
		|||
| 
		 14  | 
		
		 930 110 388 00  | 
		
		 retaining clip  | 
		
		 8  | 
		|||
| 
		 15  | 
		
		 N 011 524 7  | 
		
		 washer (A6,4)  | 
		
		 5  | 
		|||
| 
		 16  | 
		
		 900 067 117 OA  | 
		
		 hexagon socket head bolt (M6*16)  | 
		
		 4  | 
		|||
| 
		 17  | 
		
		 928 110 525 04  | 
		
		 support  | 
		
		 1  | 
		|||
| 
		 18  | 
		
		 N 010 237 6  | 
		
		 hexagon-head bolt (M8*12)  | 
		
		 1  | 
		|||
| 
		 19  | 
		
		 900 108 022 00  | 
		
		 ball (9MM)  | 
		
		 1  | 
		|||
| 
		 20  | 
		
		 A 928 110 475 01  | 
		
		 cap nut (M12*1,5)  | 
		
		 1  | 
		|||
| 
		 20  | 
		
		 928 110 475 03  | 
		
		 cap nut (M12*1,5)  | 
		
		 1  | 
		|||
| 
		 21  | 
		
		 999 512 160 02  | 
		
		 hose clamp (s13/9)  | 
		
		 2  |